溫州弘凌泵閥有限公司
客服1:0577-67987292
客服2:0577-67987270
傳真:0577-67987252
手機:13355776372
地址:浙江省永嘉縣甌北鎮浦西工業區
 
                         ISW型臥式管道離心泵
產品概述
ISW型臥式離心泵根據IS型離心泵與立式泵的獨特結構組合設計,并嚴格按照國際標準ISO2858和新的國家管道離心泵標準JB/T53058-93進行設計制造的高效節能產品。該泵采用國內先進水力模型優化設計而成。同時根據使用溫度、介質等不同在ISW型基礎上派生出熱水泵、高溫泵、化工泵、油泵等,是目前國家標準定型推廣產品。
型號意義
例如:ISW100-160(I)AB
ISW-臥式離心泵
100-泵進、出口公稱直徑(mm)
160-葉輪名義直徑(mm)
I-流量分類
AB-葉輪經第一、二次切割
產品特點
1、運行平穩:泵軸的絕對同心度葉輪優異的動靜平衡,保證平穩運行,絕無振動。
2、滴水不漏:不同材質的硬質合金密封,保證了不同介質輸送均無泄漏。
3、噪音低:兩個低噪音軸承下的水泵,運轉平穩,除電機微弱聲響,基本無噪聲。
4、故障率低:結構簡單合理,關鍵部分采用國際一流品質配套,整機無故障工作時間大大提高。
5、維修方便:更換密封、軸承、簡易方便。
6、占地更。撼隹诳上蜃、向右、向上三個方向,便于管道布置安裝,節省空間。
主要用途
1、 ISW型管道離心泵,供輸送清水及物理化學性質類似于清水的其他液體之用,適用于工業和城市給排水,高層建筑增壓送水,園林灌溉,消防增壓及設備配套,使用溫度T:≤80℃。
2、 ISWR(WRG)型熱水(高溫)循環泵廣泛適用于能源、冶金、化工、紡織、造紙、以及賓館飯店等鍋爐高溫熱水增壓循環輸送及城市采暖系統循環用泵,ISWR使用溫度T:≤120℃、WRG使用溫度T:≤240℃。
3、 ISWH型臥式化工泵,供輸送不含固體顆粒,具有腐蝕性,粘度類似于水的液體,適用于石油、化工、冶金、電力、造紙、食品、制藥和合成纖維等部門,使用溫度T:-20℃-120℃。
4、 ISWB型臥式油泵,供輸送汽油、柴油、煤油等石油產品,使用溫度T:-20℃-120℃。
ISW型臥式管道離心泵使用條件:
1、 吸入壓力≤1.0Mpa,或泵系統高工作壓力≤1.6Mpa,即泵吸入口壓力+泵揚程≤ 1.6Mpa、泵靜壓試驗壓力為2.5Mpa,訂貨時請注明系統工作壓力。泵系統工作壓力大于 1.6Mpa時應在訂貨時另行提出。以便在制造時泵的過流部件和聯接部分采用鑄鋼材料。
2、 環境溫度<40℃,相對濕度<95%。
3、 所輸送介質中固體顆粒體積含量不超過單位體積的0.1%,粒度<0.2mm.
注:如使用介質為帶有細小顆粒,請在訂貨時說明,以便采用耐磨式機械密封。
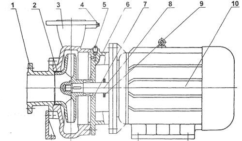
結構圖
| 
							 | 1 | 吸入室:采用優秀水力模型設計而成。 | 
| 2 | 葉 輪:采用優秀水力模型設計而成,高效節能。 | |
| 3 | 泵 體:采用優秀水力模型設計而成。 | |
| 4 | 取壓塞:安裝壓力表及真空表,以監控泵的正常高效運行。 | |
| 5 | 放氣塞:確保泵的正常維護。 | |
| 6 | 機械密封:采用不銹鋼、硬質合金、氟橡膠等材料制成,耐用消費品磨損,無泄漏,運行壽命長。 | |
| 7 | 泵 蓋: | |
| 8 | 泵 軸:為電機加長軸,確保了軸的同心,使運行平穩,無噪音和振動現象。 | |
| 9 | 擋水圈:防止因密封漏水而使電機進水。 | |
| 10 | Y系列電動機:直接與水泵聯接傳遞動力,部分采用上海名牌電機。 | 
性能參數
| 型號 | 口徑 | 流量 | 揚程 | 效率 | 轉速 | 電機功率 | 必需汽蝕余量 | |
| mm | m3/h | L/S | m | % | r/min | KW | (NPSH)r | |
| 15-80 | 15 | 
					1.1 | 
					0.3 | 
					8.5 | 
					26 | 2800 | 0.18 | 2.3 | 
| 20-110 | 20 | 
					1.8 | 
					0.5 | 
					16 | 
					25 | 2800 | 0.37 | 2.3 | 
| 20-160 | 20 | 
					1.8 | 
					0.5 | 
					33 | 
					19 | 2900 | 0.75 | 2.3 | 
| 25-110 | 25 | 
					2.8 | 
					0.78 | 
					16 | 
					34 | 2900 | 0.55 | 2.3 | 
| 25-125 | 25 | 
					2.8 | 
					0.78 | 
					20.6 | 
					28 | 2900 | 0.75 | 2.3 | 
| 25-125A | 25 | 
					2.5 | 
					0.69 | 
					17 | 35 | 2900 | 0.55 | 2.3 | 
| 25-160 | 25 | 
					2.8 | 
					0.78 | 
					33 | 
					24 | 2900 | 1.5 | 2.3 | 
| 25-160A | 25 | 
					2.6 | 
					0.12 | 
					29 | 31 | 2900 | 1.1 | 2.3 | 
| 型號 | 口徑 | 流量 | 揚程 | 效率 | 轉速 | 電機功率 | 必需汽蝕余量 | |
| mm | m3/h | L/S | m | % | r/min | KW | (NPSH)r | |
| 32-100(I) | 32 | 
					4.4 | 
					1.22 | 
					13.2 | 
					48 | 2900 | 0.75 | 2.0 | 
| 32-125 | 32 | 
					3.5 | 
					0.97 | 
					22 | 
					40 | 2900 | 0.75 | 2.3 | 
| 32-125A | 32 | 
					3.1 | 
					0.86 | 
					17.6 | 43 | 2900 | 0.55 | 2.3 | 
| 32-160(I) | 32 | 
					4.4 | 
					1.22 | 
					33.2 | 
					34 | 2900 | 2.2 | 2.0 | 
| 32-200(I) | 32 | 
					4.4 | 
					1.22 | 
					50.5 | 
					26 | 2900 | 4 | 2.0 | 
| 32-200A | 32 | 
					2.8 | 
					0.78 | 
					44.6 | 
					34 | 2900 | 2.2 | 2.0 | 
| 型號 | 口徑 | 流量 | 揚程 | 效率 | 轉速 | 電機功率 | 必需汽蝕余量 | |
| mm | m3/h | L/S | m | % | r/min | KW | (NPSH)r | |
| 40-100 | 40 | 
					4.4 | 
					1.22 | 
					13.2 | 
					48 | 2900 | 0.55 | 2.3 | 
| 40-100A | 40 | 
					3.9 | 
					1.08 | 
					10.6 | 52 | 2900 | 0.37 | 2.3 | 
| 40-125 | 40 | 
					4.4 | 
					1.22 | 
					21 | 
					41 | 2900 | 1.1 | 2.3 | 
| 40-125A | 40 | 
					3.9 | 
					1.08 | 
					17.6 | 
					40 | 2900 | 0.75 | 2.3 | 
| 40-160 | 40 | 
					4.4 | 
					1.22 | 
					33 | 
					35 | 2900 | 2.2 | 2.3 | 
| 40-160A | 40 | 
					4.1 | 
					1.14 | 
					29 | 
					34 | 2900 | 1.5 | 2.3 | 
| 40-160B | 40 | 
					3.8 | 
					1.06 | 
					25.5 | 
					34 | 2900 | 1.1 | 2.3 | 
| 40-200 | 40 | 
					4.4 | 
					1.22 | 
					51 | 
					26 | 2900 | 4 | 2.3 | 
| 40-200A | 40 | 
					4.1 | 
					1.14 | 
					45 | 
					26 | 2900 | 3 | 2.3 | 
| 40-200B | 40 | 
					3.7 | 
					1.03 | 
					38 | 29 | 2900 | 2.2 | 2.3 | 
| 40-250 | 40 | 
					4.4 | 
					1.22 | 
					82 | 
					24 | 2900 | 7.5 | 2.3 | 
| 40-250A | 40 | 
					4.1 | 
					1.14 | 
					72 | 
					24 | 2900 | 5.5 | 2.3 | 
| 40-250B | 40 | 
					3.8 | 
					1.06 | 
					61.5 | 
					23 | 2900 | 4 | 2.3 | 
| 型號 | 口徑 | 流量 | 揚程 | 效率 | 轉速 | 電機功率 | 必需汽蝕余量 | |
| mm | m3/h | L/S | m | % | r/min | KW | (NPSH)r | |
| 40-100(I) | 40 | 
					8.8 | 
					2.44 | 
					13.2 | 
					55 | 2900 | 1.1 | 2.3 | 
| 40-100(I)A | 40 | 
					8 | 
					2.22 | 
					10.6 | 60 | 2900 | 0.75 | 2.3 | 
| 40-125(I) | 40 | 
					8.8 | 
					2.44 | 
					21.2 | 
					49 | 2900 | 1.5 | 2.3 | 
| 40-125(I)A | 40 | 
					8 | 
					2.22 | 
					17 | 57 | 2900 | 1.1 | 2.3 | 
| 40-160(I) | 40 | 
					8.8 | 
					2.44 | 
					33 | 
					45 | 2900 | 3 | 2.3 | 
| 40-160(I)A | 40 | 
					8.2 | 
					2.28 | 
					29 | 
					44 | 2900 | 2.2 | 2.3 | 
| 40-160(I)B | 40 | 
					7.3 | 
					2.38 | 
					23 | 50 | 2900 | 1.5 | 2.3 | 
| 40-200(I) | 40 | 
					8.8 | 
					2.44 | 
					51.2 | 
					38 | 2900 | 5.5 | 2.3 | 
| 40-200(I)A | 40 | 
					8.3 | 
					2.31 | 
					45.0 | 
					37 | 2900 | 4 | 2.3 | 
| 40-200(I)B | 40 | 
					7.5 | 
					2.08 | 
					37 | 44 | 2900 | 3 | 2.3 | 
| 40-250(I) | 40 | 
					8.8 | 
					2.44 | 
					81.2 | 
					31 | 2900 | 11 | 2.3 | 
| 40-250(I)A | 40 | 
					8.2 | 
					2.28 | 
					71.0 | 38 | 2900 | 7.5 | 2.3 | 
| 40-250(I)B | 40 | 
					7.6 | 
					2.11 | 
					61.4 | 37 | 2900 | 7.5 | 2.3 | 
| 40-250(I)C | 40 | 
					7.1 | 
					1.97 | 
					53.2 | 36 | 2900 | 5.5 | 2.3 | 
| 型號 | 口徑 | 流量 | 揚程 | 效率 | 轉速 | 電機功率 | 必需汽蝕余量 | |
| mm | m3/h | L/S | m | % | r/min | KW | (NPSH)r | |
| 50-100 | 50 | 
					8.8 | 
					2.44 | 
					13.6 | 
					55 | 2900 | 1.1 | 2.3 | 
| 50-100A | 50 | 
					8 | 
					2.22 | 
					11 | 60 | 2900 | 0.75 | 2.3 | 
| 50-125 | 50 | 
					8.8 | 
					2.44 | 
					21.5 | 
					49 | 2900 | 1.5 | 2.3 | 
| 50-125A | 50 | 
					8 | 
					2.22 | 
					17 | 57 | 2900 | 1.1 | 2.3 | 
| 50-160 | 50 | 
					8.8 | 
					2.44 | 
					33 | 
					45 | 2900 | 3 | 2.3 | 
| 50-160A | 50 | 
					8.2 | 
					2.28 | 
					29 | 
					44 | 2900 | 2.2 | 2.3 | 
| 50-160B | 50 | 
					7.3 | 
					2.38 | 
					23 | 50 | 2900 | 1.5 | 2.3 | 
| 50-200 | 50 | 
					8.8 | 
					2.44 | 
					52 | 
					38 | 2900 | 5.5 | 2.3 | 
| 50-200A | 50 | 
					8.3 | 
					2.31 | 
					45.8 | 
					37 | 2900 | 4 | 2.3 | 
| 50-200B | 50 | 
					7.5 | 
					2.08 | 
					37 | 44 | 2900 | 3 | 2.3 | 
| 50-250 | 50 | 
					8.8 | 
					2.44 | 
					82 | 
					29 | 2900 | 11 | 2.3 | 
| 50-250A | 50 | 
					8.2 | 
					2.28 | 
					71.5 | 38 | 2900 | 7.5 | 2.3 | 
| 50-250B | 50 | 
					7.6 | 
					2.11 | 
					61.4 | 37 | 2900 | 7.5 | 2.3 | 
| 50-250C | 50 | 
					7.1 | 
					1.97 | 
					53.2 | 36 | 2900 | 5.5 | 2.3 | 
| 型號 | 口徑 | 流量 | 揚程 | 效率 | 轉速 | 電機功率 | 必需汽蝕余量 | |
| mm | m3/h | L/S | m | % | r/min | KW | (NPSH)r | |
| 50-100(I) | 50 | 
					17.5 | 
					4.86 | 
					13.7 | 
					67 | 2900 | 1.5 | 2.5 | 
| 50-100(I)A | 50 | 
					15.6 | 
					4.3 | 
					11 | 
					65 | 2900 | 1.1 | 2.5 | 
| 50-125(I) | 50 | 
					17.5 | 
					4.86 | 
					21.5 | 
					60 | 2900 | 3 | 2.5 | 
| 50-125(I)A | 50 | 
					15.6 | 
					4.33 | 
					17 | 
					58 | 2900 | 2.2 | 2.5 | 
| 50-160(I) | 50 | 
					17.5 | 
					4.68 | 
					34.4 | 
					54 | 2900 | 4 | 2.5 | 
| 50-160(I)A | 50 | 
					16.4 | 
					4.56 | 
					30 | 
					54 | 2900 | 4 | 2.5 | 
| 50-160(I)B | 50 | 
					15.0 | 
					4.17 | 
					26 | 58 | 2900 | 3 | 2.5 | 
| 50-200(I) | 50 | 
					17.5 | 
					4.86 | 
					52.7 | 
					49 | 2900 | 7.5 | 2.5 | 
| 50-200(I)A | 50 | 
					16.4 | 
					4.56 | 
					46.4 | 
					48 | 2900 | 7.5 | 2.5 | 
| 50-200(I)B | 50 | 
					15.2 | 
					4.22 | 
					40 | 55 | 2900 | 5.5 | 2.5 | 
| 50-250(I) | 50 | 
					17.5 | 
					4.86 | 
					82 | 
					39 | 2900 | 15 | 2.5 | 
| 50-250(I)A | 50 | 
					16.4 | 
					4.56 | 
					71.5 | 
					39 | 2900 | 11 | 2.5 | 
| 50-250(I)B | 50 | 
					15 | 
					4.17 | 
					61 | 
					38 | 2900 | 11 | 2.5 | 
| 50-315(I) | 50 | 
					17.5 | 
					4.86 | 
					128 | 
					30 | 2900 | 30 | 2.5 | 
| 50-315(I)A | 50 | 
					16.6 | 
					4.61 | 
					115 | 
					30 | 2900 | 22 | 2.5 | 
| 50-315(I)B | 50 | 
					15.7 | 
					4.36 | 
					103 | 39 | 2900 | 18.5 | 2.5 | 
| 50-315(I)C | 50 | 
					14.4 | 
					4.0 | 
					86 | 38 | 2900 | 15 | 2.5 | 
| 型號 | 口徑 | 流量 | 揚程 | 效率 | 轉速 | 電機功率 | 必需汽蝕余量 | |
| m3/h | L/S | m | % | r/min | KW | (NPSH)r | ||
| 65-100 | 65 | 
					17.5 | 
					4.86 | 
					13.7 | 
					67 | 2900 | 1.5 | 2.5 | 
| 65-100A | 65 | 
					15.6 | 
					4.3 | 
					11 | 
					65 | 2900 | 1.1 | 2.5 | 
| 65-125 | 65 | 
					17.5 | 
					4.86 | 
					21.5 | 
					60 | 2900 | 3 | 2.5 | 
| 65-125A | 65 | 
					15.6 | 
					4.33 | 
					17 | 
					58 | 2900 | 2.2 | 2.5 | 
| 65-160 | 65 | 
					17.5 | 
					4.86 | 
					34.4 | 
					54 | 2900 | 4 | 2.5 | 
| 65-160A | 65 | 
					16.4 | 
					4.56 | 
					30 | 
					54 | 2900 | 4 | 2.5 | 
| 65-160B | 65 | 
					15.0 | 
					4.17 | 
					26 | 58 | 2900 | 3 | 2.5 | 
| 65-200 | 65 | 
					17.5 | 
					4.86 | 
					52.7 | 
					49 | 2900 | 7.5 | 2.5 | 
| 65-200A | 65 | 
					16.4 | 
					4.56 | 
					46.4 | 
					48 | 2900 | 7.5 | 2.5 | 
| 65-200B | 65 | 
					15.2 | 
					4.22 | 
					40 | 55 | 2900 | 5.5 | 2.5 | 
| 65-250 | 65 | 
					17.5 | 
					4.86 | 
					82 | 
					39 | 2900 | 15 | 2.5 | 
| 65-250A | 65 | 
					16.4 | 
					4.56 | 
					71.5 | 
					39 | 2900 | 11 | 2.5 | 
| 65-250B | 65 | 
					15 | 
					4.17 | 
					61 | 
					38 | 2900 | 11 | 2.5 | 
| 65-315 | 65 | 
					17.5 | 
					4.86 | 
					127 | 
					32 | 2900 | 30 | 2.5 | 
| 65-315A | 65 | 
					16.6 | 
					4.61 | 
					115 | 
					32 | 2900 | 22 | 2.5 | 
| 65-315B | 65 | 
					15.7 | 
					4.36 | 
					103 | 39 | 2900 | 18.5 | 2.5 | 
| 65-315C | 65 | 
					14.4 | 
					4.0 | 
					86 | 38 | 2900 | 15 | 2.5 | 
| 型號 | 口徑 | 流量 | 揚程 | 效率 | 轉速 | 電機功率 | 必需汽蝕余量 | |
| mm | m3/h | L/S | m | % | r/min | KW | (NPSH)r | |
| 65-100(I) | 65 | 
					35 | 
					9.72 | 
					13.8 | 
					67 | 2900 | 3 | 3.0 | 
| 65-100(I)A | 65 | 
					31.3 | 
					8.7 | 
					11 | 
					66 | 2900 | 2.2 | 3.0 | 
| 65-125(I) | 65 | 
					35 | 
					9.72 | 
					22 | 
					67 | 2900 | 5.5 | 3.0 | 
| 65-125(I)A | 65 | 
					31.3 | 
					8.7 | 
					17.5 | 
					66 | 2900 | 4 | 3.0 | 
| 65-160(I) | 65 | 
					35 | 
					9.72 | 
					35 | 
					63 | 2900 | 7.5 | 3.0 | 
| 65-160(I)A | 65 | 
					32.7 | 
					9.1 | 
					30.6 | 
					62 | 2900 | 7.5 | 3.0 | 
| 65-160(I)B | 65 | 
					30.3 | 
					8.4 | 
					26 | 69 | 2900 | 5.5 | 3.0 | 
| 65-200(I) | 65 | 
					35 | 
					9.72 | 
					53.5 | 
					55 | 2900 | 15 | 3.0 | 
| 65-200(I)A | 65 | 
					32.8 | 
					9.1 | 
					47 | 
					54 | 2900 | 11 | 3.0 | 
| 65-200(I)B | 65 | 
					30.5 | 
					8.5 | 
					40.6 | 65 | 2900 | 7.5 | 3.0 | 
| 65-250(I) | 65 | 
					35 | 
					9.72 | 
					83 | 
					52 | 2900 | 22 | 3.0 | 
| 65-250(I)A | 65 | 
					32.5 | 
					9.0 | 
					73 | 
					52 | 2900 | 18.5 | 3.0 | 
| 65-250(I)B | 65 | 
					30 | 
					8.3 | 
					62 | 58 | 2900 | 15 | 3.0 | 
| 65-315(I) | 65 | 
					35 | 
					9.72 | 
					128 | 
					44 | 2900 | 37 | 3.0 | 
| 65-315(I)A | 65 | 
					32.5 | 
					9.0 | 
					112.6 | 
					43 | 2900 | 30 | 3.0 | 
| 65-315(I)B | 65 | 
					31 | 
					8.6 | 
					102.5 | 53 | 2900 | 30 | 3.0 | 
| 65-315(I)C | 65 | 
					29 | 
					8.1 | 
					87 | 51 | 2900 | 22 | 3.0 | 
| 型號 | 口徑 | 流量 | 揚程 | 效率 | 轉速 | 電機功率 | 必需汽蝕余量 | |
| mm | m3/h | L/S | m | % | r/min | KW | (NPSH)r | |
| 80-100 | 80 | 
					35 | 
					9.72 | 
					13.8 | 
					67 | 2900 | 3 | 3.0 | 
| 80-100A | 80 | 
					31.3 | 
					8.7 | 
					11 | 
					66 | 2900 | 2.2 | 3.0 | 
| 80-125 | 80 | 
					35 | 
					9.72 | 
					22 | 
					67 | 2900 | 5.5 | 3.0 | 
| 80-125A | 80 | 
					31.3 | 
					8.7 | 
					17.5 | 
					66 | 2900 | 4 | 3.0 | 
| 80-160 | 80 | 
					35 | 
					9.72 | 
					35 | 
					63 | 2900 | 7.5 | 3.0 | 
| 80-160A | 80 | 
					32.7 | 
					9.1 | 
					30.6 | 
					62 | 2900 | 7.5 | 3.0 | 
| 80-160B | 80 | 
					30.3 | 
					8.4 | 
					26 | 69 | 2900 | 5.5 | 3.0 | 
| 80-200 | 80 | 
					35 | 
					9.72 | 
					53.5 | 
					55 | 2900 | 15 | 3.0 | 
| 80-200A | 80 | 
					32.8 | 
					9.1 | 
					47 | 
					54 | 2900 | 11 | 3.0 | 
| 80-200B | 80 | 
					30.5 | 
					8.5 | 
					40.6 | 65 | 2900 | 7.5 | 3.0 | 
| 80-250 | 80 | 
					35 | 
					9.72 | 
					83 | 
					52 | 2900 | 22 | 3.0 | 
| 80-250A | 80 | 
					32.5 | 
					9.0 | 
					73 | 
					52 | 2900 | 18.5 | 3.0 | 
| 80-250B | 80 | 
					30 | 
					8.3 | 
					62 | 58 | 2900 | 15 | 3.0 | 
| 80-315 | 80 | 
					35 | 
					9.72 | 
					128 | 
					43 | 2900 | 37 | 3.0 | 
| 80-315A | 80 | 
					32.5 | 
					9.0 | 
					112.6 | 
					43 | 2900 | 30 | 3.0 | 
| 80-315B | 80 | 
					31 | 
					8.6 | 
					102.5 | 53 | 2900 | 30 | 3.0 | 
| 80-315C | 80 | 
					29 | 
					8.1 | 
					98 | 51 | 2900 | 22 | 3.0 | 
| 80-350 | 80 | 
					35 | 
					9.72 | 
					146 | 
					55 | 2900 | 55 | 3.0 | 
| 80-350A | 80 | 
					31 | 
					8.6 | 
					138.4 | 65 | 2900 | 45 | 3.0 | 
| 80-350B | 80 | 
					29 | 
					8.1 | 
					131.4 | 63 | 2900 | 37 | 3.0 | 
| 型號 | 口徑 | 流量 | 揚程 | 效率 | 轉速 | 電機功率 | 必需汽蝕余量 | |
| mm | m3/h | L/S | m | % | r/min | KW | (NPSH)r | |
| 80-100(I) | 80 | 
					70 | 
					19.4 | 
					13.6 | 
					66 | 2900 | 5.5 | 4.5 | 
| 80-100(I)A | 80 | 
					62.6 | 
					17.4 | 
					11 | 
					64 | 2900 | 4 | 4.5 | 
| 80-125(I) | 80 | 
					70 | 
					19.4 | 
					23.5 | 
					70 | 2900 | 11 | 4.5 | 
| 80-125(I)A | 80 | 
					62.6 | 
					17.4 | 
					19 | 
					68 | 2900 | 7.5 | 4.5 | 
| 80-160(I) | 80 | 
					70 | 
					19.4 | 
					36.5 | 
					70 | 2900 | 15 | 4.5 | 
| 80-160(I)A | 80 | 
					65.4 | 
					18.2 | 
					32 | 
					68 | 2900 | 11 | 4.5 | 
| 80-160(I)B | 80 | 
					60.6 | 
					16.8 | 
					72 | 72 | 2900 | 11 | 4.5 | 
| 80-200(I) | 80 | 
					70 | 
					19.4 | 
					54 | 
					65 | 2900 | 22 | 4.0 | 
| 80-200(I)A | 80 | 
					65.4 | 
					18.2 | 
					47.5 | 
					64 | 2900 | 18.5 | 4.0 | 
| 80-200(I)B | 80 | 
					61 | 
					16.9 | 
					41 | 71 | 2900 | 15 | 4.0 | 
| 80-250(I) | 80 | 
					70 | 
					19.4 | 
					87 | 
					62 | 2900 | 37 | 4.0 | 
| 80-250(I)A | 80 | 
					65.4 | 
					18.2 | 
					76 | 
					61 | 2900 | 30 | 4.0 | 
| 80-250(I)B | 80 | 
					61 | 
					16.9 | 
					65 | 66 | 2900 | 30 | 4.0 | 
| 80-315(I) | 80 | 
					70 | 
					19.4 | 
					132 | 
					55 | 2900 | 75 | 4.0 | 
| 80-315(I)A | 80 | 
					66.5 | 
					18.5 | 
					119 | 
					55 | 2900 | 55 | 4.0 | 
| 80-315(I)B | 80 | 
					63 | 
					17.5 | 
					106.6 | 65 | 2900 | 45 | 4.0 | 
| 80-315(I)C | 80 | 
					58 | 
					16.1 | 
					90 | 63 | 2900 | 37 | 4.0 | 
| 型號 | 口徑 | 流量 | 揚程 | 效率 | 轉速 | 電機功率 | 必需汽蝕余量 | |
| mm | m3/h | L/S | m | % | r/min | KW | (NPSH)r | |
| 100-100 | 100 | 
					70 | 
					19.4 | 
					13.6 | 
					66 | 2900 | 5.5 | 4.5 | 
| 100-100A | 100 | 
					62.6 | 
					17.4 | 
					11 | 
					64 | 2900 | 4 | 4.5 | 
| 100-125 | 100 | 
					70 | 
					19.4 | 
					23.5 | 
					70 | 2900 | 11 | 4.5 | 
| 100-125A | 100 | 
					62.6 | 
					17.4 | 
					19 | 
					68 | 2900 | 7.5 | 4.5 | 
| 100-160 | 100 | 
					70 | 
					19.4 | 
					36.5 | 
					70 | 2900 | 15 | 4.5 | 
| 100-160A | 100 | 
					65.4 | 
					18.2 | 
					32 | 
					68 | 2900 | 11 | 4.5 | 
| 100-160B | 100 | 
					60.6 | 
					16.8 | 
					27 | 72 | 2900 | 11 | 4.5 | 
| 100-200 | 100 | 
					70 | 
					19.4 | 
					54 | 
					65 | 2900 | 22 | 4.0 | 
| 100-200A | 100 | 
					65.4 | 
					18.2 | 
					47.5 | 
					64 | 2900 | 18.5 | 4.0 | 
| 100-200B | 100 | 
					61 | 
					16.9 | 
					41 | 71 | 2900 | 15 | 4.0 | 
| 100-250 | 100 | 
					70 | 
					19.4 | 
					37 | 
					62 | 2900 | 37 | 4.0 | 
| 100-250A | 100 | 
					65.4 | 
					18.2 | 
					76 | 
					61 | 2900 | 30 | 4.0 | 
| 100-250B | 100 | 
					61 | 
					16.9 | 
					65 | 66 | 2900 | 30 | 4.0 | 
| 100-315 | 100 | 
					70 | 
					19.4 | 
					132 | 
					55 | 2900 | 75 | 4.0 | 
| 100-315A | 100 | 
					66.5 | 
					18.5 | 
					119 | 
					65 | 2900 | 55 | 4.0 | 
| 100-315B | 100 | 
					63 | 
					17.5 | 
					106.6 | 65 | 2900 | 45 | 4.0 | 
| 100-315C | 100 | 
					58 | 
					16.1 | 
					90 | 63 | 2900 | 37 | 4.0 | 
| 型號 | 口徑 | 流量 | 揚程 | 效率 | 轉速 | 電機功率 | 必需汽蝕余量 | |
| mm | m3/h | L/S | m | % | r/min | KW | (NPSH)r | |
| 100-100(I) | 100 | 
					96 | 
					26.7 | 
					14 | 
					64 | 2900 | 11 | 4.5 | 
| 100-125(I) | 100 | 
					96 | 
					26.7 | 
					24 | 
					62 | 2900 | 15 | 4.5 | 
| 100-125(I)A | 100 | 
					84 | 
					23.3 | 
					20 | 
					64 | 2900 | 11 | 4.5 | 
| 100-160(I) | 100 | 
					96 | 
					26.7 | 
					36 | 
					69 | 2900 | 22 | 5.6 | 
| 100-160(I)A | 100 | 
					84 | 
					23.3 | 
					32 | 
					66 | 2900 | 18.5 | 5.0 | 
| 100-200(I) | 100 | 
					96 | 
					26.7 | 
					53 | 
					69 | 2900 | 37 | 5.2 | 
| 100-200(I)A | 100 | 
					84 | 
					23.3 | 
					48 | 
					64 | 2900 | 30 | 4.5 | 
| 100-200(I)B | 100 | 
					60 | 
					16.7 | 
					43 | 72 | 2900 | 22 | 4.5 | 
| 100-250(I) | 100 | 
					96 | 
					26.7 | 
					83 | 
					65 | 2900 | 55 | 4.8 | 
| 100-250(I)A | 100 | 
					84 | 
					23.3 | 
					75 | 
					60 | 2900 | 45 | 4.5 | 
| 100-250(I)B | 100 | 
					60 | 
					16.7 | 
					68 | 70 | 2900 | 37 | 4.5 | 
| 100-350 | 100 | 
					60 | 
					16.7 | 
					153.6 | 
					72 | 2900 | 90 | 4.0 | 
| 100-350A | 100 | 
					61 | 
					16.9 | 
					145.6 | 75 | 2900 | 75 | 4.0 | 
| 100-350B | 100 | 
					58 | 
					16.1 | 
					138.6 | 75 | 2900 | 55 | 4.0 | 
| 型號 | 口徑 | 流量 | 揚程 | 效率 | 轉速 | 電機功率 | 必需汽蝕余量 | |
| mm | m3/h | L/S | m | % | r/min | KW | (NPSH)r | |
| 125-100 | 125 | 
					96 | 
					26.7 | 
					13 | 82 | 2900 | 11 | 4.0 | 
| 125-100A | 125 | 
					86 | 
					23.9 | 
					10.4 | 77 | 2900 | 7.5 | 4.0 | 
| 125-125 | 125 | 
					96 | 
					26.7 | 
					22.6 | 80 | 2900 | 15 | 4.0 | 
| 125-125A | 125 | 
					86 | 
					23.9 | 
					18 | 77 | 2900 | 11 | 4.0 | 
| 125-160 | 125 | 
					96 | 
					26.7 | 
					36 | 78 | 2900 | 22 | 4.0 | 
| 125-160A | 125 | 
					90 | 
					25 | 
					31.5 | 76 | 2900 | 18.5 | 4.0 | 
| 125-160B | 125 | 
					83 | 
					21.7 | 
					27 | 73 | 2900 | 15 | 4.0 | 
| 125-200 | 125 | 
					96 | 
					26.7 | 
					55 | 77 | 2900 | 37 | 5.5 | 
| 125-200A | 125 | 
					90 | 
					25 | 
					48.4 | 76 | 2900 | 30 | 5.5 | 
| 125-200B | 125 | 
					83 | 
					21.7 | 
					41.3 | 75 | 2900 | 22 | 5.5 | 
| 125-250 | 125 | 
					96 | 
					26.7 | 
					87 | 75 | 2900 | 55 | 5.0 | 
| 125-250A | 125 | 
					90 | 
					25 | 
					76 | 74 | 2900 | 45 | 5.5 | 
| 125-250B | 125 | 
					83 | 
					21.7 | 
					65 | 73 | 2900 | 37 | 5.5 | 
| 125-315 | 125 | 
					96 | 
					26.7 | 
					133 | 70 | 2900 | 90 | 5.0 | 
| 125-315A | 125 | 
					90 | 
					25 | 
					117 | 70 | 2900 | 75 | 5.0 | 
| 125-315B | 125 | 
					86 | 
					23.9 | 
					106.4 | 69 | 2900 | 75 | 5.0 | 
| 125-315C | 125 | 
					80.5 | 
					22.4 | 
					96 | 67 | 2900 | 55 | 5.0 | 
| 型號 | 口徑 | 流量 | 揚程 | 效率 | 轉速 | 電機功率 | 必需汽蝕余量 | |
| mm | m3/h | L/S | m | % | r/min | KW | (NPSH)r | |
| 150-125 | 150 | 
					96 | 
					26.7 | 
					22.6 | 
					66 | 2900 | 11 | 4.0 | 
| 150-125A | 150 | 
					90 | 
					25 | 
					18 | 77 | 2900 | 7.5 | 4.0 | 
| 150-160 | 150 | 
					96 | 
					26.7 | 
					36 | 75 | 2900 | 22 | 4.0 | 
| 150-160A | 150 | 
					90 | 
					25 | 
					32 | 76 | 2900 | 18.5 | 4.0 | 
| 150-160B | 150 | 
					84 | 
					23.3 | 
					27 | 73 | 2900 | 15 | 4.0 | 
| 150-200 | 150 | 
					140 | 
					38.9 | 
					13.8 | 
					68 | 1450 | 15 | 3.0 | 
| 150-200A | 150 | 
					125 | 
					34.7 | 
					11 | 
					66 | 1450 | 11 | 3.0 | 
| 150-200B | 150 | 
					84 | 
					23.3 | 
					41 | 75 | 2900 | 22 | 4.0 | 
| 150-250 | 150 | 
					140 | 
					38.9 | 
					21.8 | 
					73 | 1450 | 18.5 | 3.0 | 
| 150-250A | 150 | 
					129 | 
					35.8 | 
					18.5 | 
					72 | 1450 | 15 | 3.0 | 
| 150-250B | 150 | 
					117 | 
					32.5 | 
					15.2 | 76 | 1450 | 11 | 3.0 | 
| 150-315 | 150 | 
					140 | 
					38.9 | 
					33.8 | 
					70 | 1450 | 30 | 2.5 | 
| 150-315A | 150 | 
					131 | 
					36.4 | 
					29.5 | 
					69 | 1450 | 22 | 3.5 | 
| 150-315B | 150 | 
					121 | 
					33.5 | 
					25 | 76 | 1450 | 18.5 | 3.5 | 
| 150-350 | 150 | 
					96 | 
					26.7 | 
					153.6 | 80 | 2900 | 110 | 5.5 | 
| 150-350A | 150 | 
					90 | 
					25 | 
					145.6 | 70 | 2900 | 90 | 5.2 | 
| 150-350B | 150 | 
					84 | 
					23.3 | 
					138.6 | 
					65 | 2900 | 75 | 5.5 | 
| 150-400 | 150 | 
					140 | 
					38.9 | 
					53 | 
					68 | 1450 | 45 | 3.5 | 
| 150-400A | 150 | 
					131 | 
					36.4 | 
					46.6 | 
					67 | 1450 | 37 | 3.5 | 
| 150-400B | 150 | 
					122 | 
					33.9 | 
					40 | 73 | 1450 | 30 | 3.5 | 
| 150-400C | 150 | 
					112 | 
					31.1 | 
					34 | 71 | 1450 | 22 | 3.5 | 
| 型號 | 口徑 | 流量 | 揚程 | 效率 | 轉速 | 電機功率 | 必需汽蝕余量 | |
| mm | m3/h | L/S | m | % | r/min | KW | (NPSH)r | |
| 150-250(I) | 150 | 
					120 | 
					33.3 | 
					87 | 
					65 | 2900 | 75 | 4.5 | 
| 150-250(I)A | 150 | 
					112 | 
					31.1 | 
					76 | 
					64 | 2900 | 55 | 4.5 | 
| 150-250(I)B | 150 | 
					104 | 
					28.9 | 
					65 | 
					63 | 2900 | 45 | 4.5 | 
| 150-315(I) | 150 | 
					120 | 
					33.3 | 
					133 | 
					58 | 2900 | 110 | 4.5 | 
| 150-315(I)A | 150 | 
					112 | 
					31.1 | 
					116 | 
					57 | 2900 | 90 | 4.5 | 
| 150-315(I)B | 150 | 
					104 | 
					28.9 | 
					100 | 
					55 | 2900 | 75 | 4.5 | 
| 型號 | 口徑 | 流量 | 揚程 | 效率 | 轉速 | 電機功率 | 必需汽蝕余量 | |
| mm | m3/h | L/S | m | % | r/min | KW | (NPSH)r | |
| 200-200 | 200 | 
					140 | 
					38.9 | 
					13.8 | 
					68 | 1450 | 15 | 3.0 | 
| 200-200A | 200 | 
					125 | 
					34.7 | 
					11 | 
					66 | 1450 | 11 | 3.0 | 
| 200-250 | 200 | 
					140 | 
					21.8 | 
					21.8 | 
					73 | 1450 | 18.5 | 3.0 | 
| 200-250A | 200 | 
					129 | 
					18.5 | 
					18.5 | 
					72 | 1450 | 15 | 3.0 | 
| 200-250B | 200 | 
					117 | 
					15.2 | 
					15.2 | 76 | 1450 | 11 | 3.0 | 
| 200-315 | 200 | 
					140 | 
					33.8 | 
					33.8 | 
					70 | 1450 | 30 | 3.5 | 
| 200-315A | 200 | 
					131 | 
					29.5 | 
					29.5 | 
					69 | 1450 | 22 | 3.5 | 
| 200-315B | 200 | 
					121 | 
					25 | 
					25 | 76 | 1450 | 18.5 | 3.5 | 
| 200-400 | 200 | 
					140 | 
					53 | 
					53 | 
					68 | 1450 | 45 | 3.5 | 
| 200-400A | 200 | 
					131 | 
					46.6 | 
					46.6 | 
					67 | 1450 | 37 | 3.5 | 
| 200-400B | 200 | 
					122 | 
					40 | 
					40 | 73 | 1450 | 30 | 3.5 | 
| 200-400C | 200 | 
					112 | 
					34 | 
					34 | 71 | 1450 | 22 | 3.5 | 
| 型號 | 口徑 | 流量 | 揚程 | 效率 | 轉速 | 電機功率 | 必需汽蝕余量 | |
| mm | m3/h | L/S | m | % | r/min | KW | (NPSH)r | |
| 200-200(I) | 200 | 
					280 | 
					77.8 | 
					13.4 | 
					70 | 1450 | 22 | 4.0 | 
| 200-200(I)A | 200 | 
					250 | 
					69.4 | 
					10.7 | 
					68 | 1450 | 18.5 | 4.0 | 
| 200-250(I) | 200 | 
					280 | 
					77.8 | 
					22.2 | 
					75 | 1450 | 30 | 4.0 | 
| 200-250(I)A | 200 | 
					250 | 
					69.4 | 
					18 | 
					73 | 1450 | 22 | 4.0 | 
| 200-250(I)B | 200 | 
					226 | 
					62.8 | 
					14.4 | 
					70 | 1450 | 18.5 | 4.0 | 
| 200-315(I) | 200 | 
					280 | 
					77.8 | 
					36 | 
					73 | 1450 | 55 | 4.0 | 
| 200-315(I)A | 200 | 
					262 | 
					72.8 | 
					31.5 | 
					72 | 1450 | 45 | 4.0 | 
| 200-315(I)B | 200 | 
					242 | 
					67.3 | 
					27 | 78 | 1450 | 37 | 4.0 | 
| 200-400(I) | 200 | 
					280 | 
					77.8 | 
					54.5 | 
					75 | 1450 | 75 | 4.0 | 
| 200-400(I)A | 200 | 
					262 | 
					72.8 | 
					48 | 80 | 1450 | 75 | 4.0 | 
| 200-400(I)B | 200 | 
					242 | 
					67.2 | 
					41.4 | 78 | 1450 | 55 | 5.0 | 
| 200-400(I)C | 200 | 
					224 | 
					62.2 | 
					34.9 | 76 | 1450 | 45 | 5.0 | 
| 型號 | 口徑 | 流量 | 揚程 | 效率 | 轉速 | 電機功率 | 必需汽蝕余量 | |
| mm | m3/h | L/S | m | % | r/min | KW | (NPSH)r | |
| 250-250 | 250 | 
					350 | 
					97.2 | 
					22 | 
					78 | 1450 | 45 | 5.0 | 
| 250-250A | 250 | 
					300 | 
					83.3 | 
					18.3 | 
					76 | 1450 | 37 | 5.0 | 
| 250-235 | 250 | 
					300 | 
					83.3 | 
					14 | 
					73 | 1480 | 22 | 4.5 | 
| 250-300 | 250 | 
					300 | 
					83.3 | 
					22 | 78 | 1480 | 37 | 4.5 | 
| 250-315 | 250 | 
					350 | 
					97.2 | 
					34 | 
					76 | 1450 | 75 | 5.5 | 
| 250-315A | 250 | 
					300 | 
					83.3 | 
					29.5 | 
					74 | 1450 | 55 | 5.5 | 
| 250-315B | 250 | 
					260 | 
					72.2 | 
					25 | 
					70 | 1450 | 45 | 5.5 | 
| 250-400 | 250 | 
					300 | 
					83.3 | 
					54.5 | 72 | 1480 | 90 | 4.5 | 
| 型號 | 口徑 | 流量 | 揚程 | 效率 | 轉速 | 電機功率 | 必需汽蝕余量 | |
| mm | m3/h | L/S | m | % | r/min | KW | (NPSH)r | |
| 300-235 | 300 | 
					480 | 
					133.3 | 
					20 | 
					77 | 970 | 55 | 5.0 | 
| 300-235A | 300 | 
					438 | 
					121.7 | 
					16.5 | 
					75 | 970 | 45 | 5.0 | 
| 300-235B | 300 | 
					400 | 
					111.1 | 
					14 | 
					73 | 970 | 37 | 5.0 | 
| 300-300 | 300 | 
					480 | 
					133.3 | 
					31 | 
					77 | 970 | 75 | 5.0 | 
| 300-300A | 300 | 
					444 | 
					123.3 | 
					26.5 | 
					76 | 970 | 75 | 5.0 | 
| 300-300B | 300 | 
					415 | 
					115.3 | 
					23 | 79 | 970 | 55 | 5.0 | 
| 300-380 | 300 | 
					480 | 
					133.3 | 
					48 | 84 | 970 | 132 | 5.0 | 
| 300-380A | 300 | 
					444 | 
					123.3 | 
					41.4 | 80 | 970 | 110 | 5.0 | 
| 300-380B | 300 | 
					409 | 
					113.6 | 
					35 | 78 | 970 | 90 | 5.0 | 
| 300-235(I) | 300 | 
					718 | 
					199.4 | 
					44.6 | 82 | 1450 | 160 | 5.5 | 
| 300-235(I)A | 300 | 
					642 | 
					178.3 | 
					35.7 | 80 | 1450 | 132 | 5.5 | 
	
ISW型臥式管道離心泵起動與停車
(一)運行中的維護與保養
1、進口管道必須充滿液體,禁止泵在汽蝕狀態下長期運行。
2、定時檢查電機電流值,不得超過電機額定電流。
3、泵進行長期運行后,由于機械磨損,使機組噪音及振動增大時,應停車檢查,必要時可更換易損件,機組大修期一般為一年。
(二)機械密封維護與保養
1、機械密封潤滑應清潔無固體顆粒。
2、嚴禁機械密封在干磨情況下工作。
3、起動前應盤動泵(電機)幾圈,以免突然起動造成密封環斷損壞。
4、密封泄漏允差3滴/分,否則應檢修。
故障原因及排除方法
| 故障現象 | 可能產生的原因 | 排除方法 | 
| 1、水泵不出水 | 
								a、進出口閥門未打開,進出管路阻塞,葉輪流道阻塞。 | 
								a、檢查,去除阻塞物。 | 
| 2、水泵流量不足 | 
								a、先按1。原因檢查。 | 
								a、先按1。排除。 | 
| 3、功率過大 | 
								a、超過額定流量使用 | 
								a、調節流量關小閥門 | 
| 4、雜音振動 | 
								a、管路支撐不穩。 | 
								a、穩固管路。 | 
| 5、電機發熱 | 
								a、流量過大、超載運行。 | 
								a、關小出口閥。 | 
| 6、水泵漏水 | 
								a、機械密封磨損。 | 
								a、更換。 | 
 
		 
                                     
 
						 
 
 
