溫州弘凌泵閥有限公司
客服1:0577-67987292
客服2:0577-67987270
傳真:0577-67987252
手機:13355776372
地址:浙江省永嘉縣甌北鎮浦西工業區
JYWQ系列自動攪勻排污泵特點及用途
時間:2018-1-17 11:04:42來源:http://www.meideweixiu.com作者:弘凌泵閥
JYWQ系列自動攪勻排污泵概述
JYWQ、JBWQ、JPWO系列自動攪勻排污泵是在普通排污泵的基礎上采用自動攪拌裝置,該裝置隨電機軸旋轉,產生極強的攪拌力,將污水池內的沉積物攪拌成懸浮物,吸入泵內排出,提高了泵的防堵、排污能力,一次性完成了排水、清污、除淤、節約了運行成本,是具有明顯的先進性和用性的環保產品。注:JYWQ、JBWQ為普通型自動攪勻排污泵;JPWQ為帶不銹鋼外套內循環冷卻系統自動攪勻排污泵。
JYWQ自動攪勻排污泵主要特點
1.當自動攪勻排污泵運轉時,自動攪拌池底沉積物,徹底防止污物淤積,無須人工清理;
2.獨特的葉輪設計,具有將纖維物、雜物切碎和撕裂的功能;
3.采用外循環冷卻系統,使排污泵低水位運轉,減少電機起動頻率,延長電機壽命;
4.國家標準圖集推薦產品;
5.上海市高新技術成果轉化產品。
JYWQ自動攪勻排污泵型號意義:
例:80JYWQ50-10-1600-3 80-排出口徑(mm)JYWQ-自動攪勻排污泵50-流量(m3/h)10-揚程(m)1600-攪勻范圍(mm)3-電機功率(KW)
JYWQ自動攪勻排污泵主要用途
1.工廠、商業嚴重污染廢水的排放。
2.城市污水處理廠、醫院、賓館的排水系統。
3.住宅區的污水排水站。
4.人防系統排水站、自來水廠的給水裝置。
5.市政工程、建筑工地。
6.勘探、礦山、發電廠配套附機。
7.農村沼氣池、農田灌溉、河塘清淤。
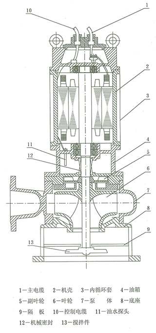
JYWQ自動攪勻排污泵結構簡圖




